TYRON REIFENSICHERHEIT
Installation
Tyron MultiBands werden einfach um Ihre bestehende Felge gespannt. Die Anleitungen zeigen, wie einfach die Montage ist.
Schritt 1:
Nehmen Sie das Rad ab und lassen Sie vollständig die Luft aus dem Reifen, indem Sie den Ventileinsatz
entfernen.
Schritt 2:
Drücken Sie die Reifenwulst nur an der AUßENSEITE des Rads mit einer Reifenmontiermaschine oder
entsprechendem Werkzeug über den Felgenhump ab.
Achten Sie dabei darauf, das Ventil oder RDKS nicht zu beschädigen.
Schritt 3:
Drücken Sie den Reifen über das Tiefbett hinaus herunter, so dass dieses offenliegt.
Das Gummi darf nicht auf einem festen Untergrund aufliegen.
Schritt 4:
Stecken Sie die beiden Teile des Bandes an einer Stelle locker zusammen: bei einem Rad mit RDKS
stecken Sie beide Teile mit dem Bügel zusammen, bei einem Rad ohne RDKS nehmen Sie eine
Schraube mit Bolzen. Vergewissern Sie sich, dass die zwei Teile richtig herum montiert werden: bei
beiden Teilen muss der Pfeil in Richtung der Radrückseite/ Radinnenseite zeigen.
Schritt 5:
Legen Sie die beiden Teile des Bandes um das Rad und
bringen Sie sie in die richtige Position, so dass sie das
Tiefbett bestmöglich ausfüllen.
Schritt 6:
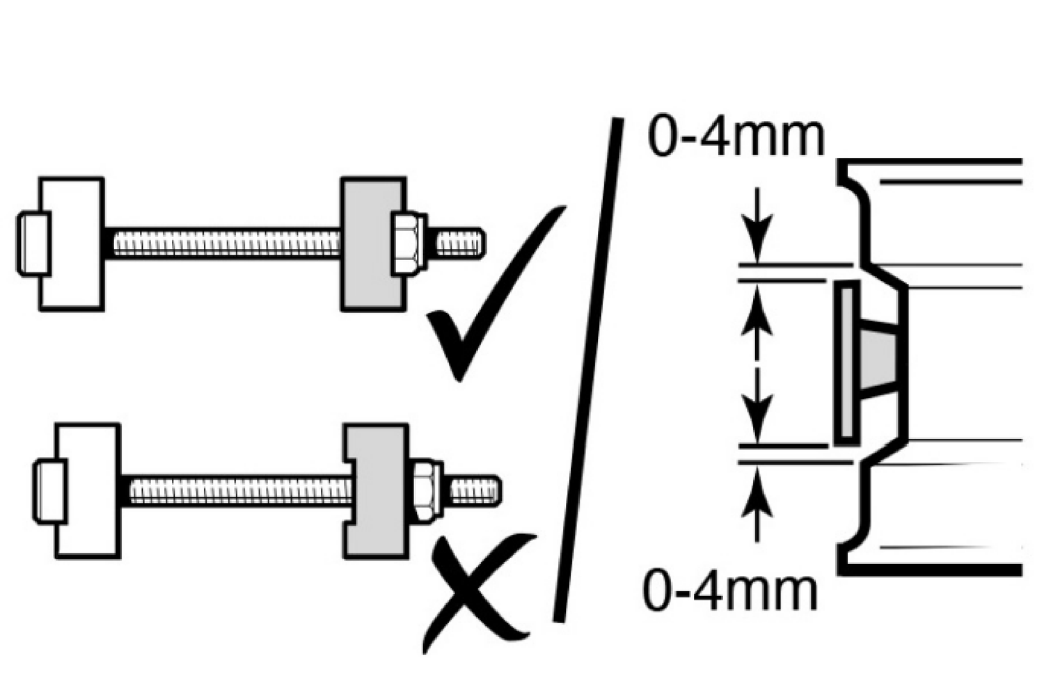
Bringen Sie die zweite Befestigung (Schraube und Bolzen) in Höhe des Ventils an. Die Schraubenmuttern müssen in der Ausbuchtung
des Bolzens sitzen und die Seiten des Bandes sollten bis zu 4mm Abstand zur Felge haben.
Schritt 7:
Der Abstand zwischen den beiden Bändern, der durch die Schraube überbrückt wird, beträgt jeweils
20-25mm.
Schritt 8:
Die Schraube über dem Ventil sitzt mittig.
Schritt 9:
Ziehen Sie nun beide Schrauben bzw. bei einem Rad mit RDKS nur die eine Schraube, gleichmäßig mit
7,5Nm an.
Schritt 10:
Reinigen Sie die Oberfläche des Rades neben dem Ventil und bringen Sie den TyronWarnaufkleber an.
Nehmen Sie den Druck vom Reifen und pumpen Sie den Reifen den Angaben des Fahrzeugherstellers entsprechend wieder auf.
Prüfen Sie Rad und Reifen und wuchten Sie gegebenenfalls neu aus.
Montieren Sie die Reifen mit den Radmuttern wieder am Fahrzeug und ziehen Sie die Muttern mit
dem vom Fahrzeughersteller vorgeschriebenen Drehmoment fest.
Legen Sie die Montageanleitung griffbereit ins Handschuhfach.
Um sicherzugehen, dass Sie Ihren mit MultiBands ausgestatteten Reifen überall auf der Welt
wechseln lassen können, empfehlen wir unser mobiles Montagegerät im kompakten Koffer immer
mitzuführen. Sie erhalten es direkt über uns auf unserer Website oder einen unserer
Kooperationspartner.
Bestimmen Sie das richtige MultiBand für Ihre Räder mit der Anleitung, die die notwendigen Vermessungsschlüssel enthält.Folgen Sie den Anleitungen zur Montage eines MultiBands,zum Reifenwechsel bei Rädern, die mit MultiBands ausgerüstet sind undzur Handhabung des mobilen Montagegeräts.